您现在的位置:首页 > 资料下载 > 减温减压装置常规配置

减温减压装置常规配置

  • 发布日期:2013/11/1      浏览次数:2812
  • 提 供 商: 必一体育bsport 资料大小: JPG
    图片类型: JPG 下载次数: 3044
    资料类型: JPG 浏览次数: 2812
    相关产品:
    详细介绍: 文件下载    图片下载    

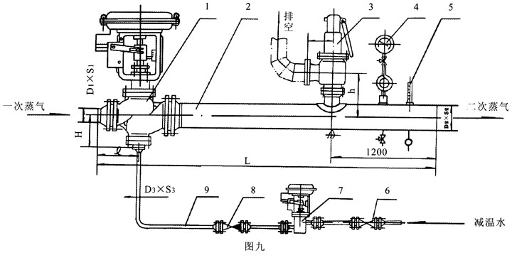
    减温减压装置配置

    蒸汽流量8t/h,入口蒸汽流量0.6--0.8MPa,温度180--240摄氏度,出口饱和蒸汽压力0.5MPa,温度160摄氏度

    一、概述:根据本装置及生产的实际需要,自控部分提供了一次压力的现场及远传显示;二次压力的远传集控;一次温度的现场及远传显示;二次温度的远传集控。

    二、控制方案:根据工艺要求采用了常规的PID控制。

    三、PID的控制原理:

    本装置中,应用的PID调节器,控制规律为比例、积分、微分控制,简称PID控制,又称PID调节。PID调节以其结构简单、稳定性好、工作可靠、调整方便而成为工业控制的主要技术之一。实际中也有PIPD控制。PID控制器就是根据系统的误差,利用比例、积分、微分计算出控制量进行控制的。 

      1比例(P)控制 

      比例控制是一种简单的控制方式。其控制器的输出与输入误差信号成比例关系。当仅有比例控制时系统输出存在稳态误差(Steady-state error)。 

      2积分(I)控制 

      在积分控制中,控制器的输出与输入误差信号的积分成正比关系。对一个自动控制系统,如果在进入稳态后存在稳态误差,则称这个控制系统是有稳态误差的或简称有差系统(System with Steady-state Error)。为了消除稳态误差,在控制器中必须引入积分项。积分项对误差取决于时间的积分,随着时间的增加,积分项会增大。这样,即便误差很小,积分项也会随着时间的增加而加大,它推动控制器的输出增大使稳态误差进一步减小,直到等于零。因此,比例+积分(PI)控制器,可以使系统在进入稳态后无稳态误差。 

     3 微分(D)控制 

      在微分控制中,控制器的输出与输入误差信号的微分(即误差的变化率)成正比关系。 自动控制系统在克服误差的调节过程中可能会出现振荡甚至失稳。其原因是由于存在有较大惯性组件(环节)或有滞后(delay)组件,具有抑制误差的作用,其变化总是落后于误差的变化。解决的办法是使抑制误差的作用的变化“超前”,即在误差接近零时,抑制误差的作用就应该是零。这就是说,在控制器中仅引入“比例”项往往是不够的,比例项的作用仅是放大误差的幅值,而目前需要增加的是“微分项”,它能预测误差变化的趋势,这样,具有比例+微分的控制器,就能够提前使抑制误差的控制作用等于零,甚至为负值,从而避免了被控量的严重超调。所以对有较大惯性或滞后的被控对象,比例+微分(PD)控制器能改善系统在调节过程中的动态特性。

     

    序号

    名称

    规格型号

    数量

     

    单位

    产地

    备注

    1

    减压阀体

    DN25

    1

    国产

    PN25

    2

    减压执行器

    SKC60

    1

    国产

     

    3

    减温雾化器

    SY10

    1

    国产

     

    4

    减温减压管

    DN25

    1

    国产

     

    5

    安全阀

    DN25

    1

    国产

     

    6

    流量调节

    三通阀

    DN20

    1

    西门子

     

    7

    减温执行器

    SKD60SL

    1

    国产

     

    8

    电控箱

    400*600

    1

    国产

     

    9

    减压控制器

    RWD60

    1

    国产

     

    10

    温度变送器

    RWBP

    1

    国产

     

    11

    减温控制器

    RWD60

    1

    国产

     

    12

    压力变送器

    QBE9000

    1

    国产

     

    13

    压力表

    0-1.6

    1

    国产

     

    14

    温度表

    0-300

    1

    国产

    15

    压力表弯

     

     

    国产

    16

    止回阀

    DN20

     

     

           一宗

    国产

    17

    过滤器

    DN20

    国产

    18

    截止阀

    DN20

    国产

    19

    水泵

    SDL

    2

    国产

    不锈钢

     

    (含运费,调试费

    含增值税)