减压阀在蒸汽系统中减压作用
必一体育bsport
主、再热蒸汽系统 重点内容 什么是主再热蒸汽系统? 必一体育bsport主营阀门有:减压阀(气体减压阀,可调式减压阀,波纹管减压阀,活塞式减压阀,蒸汽减压阀,先导式减压阀,空气减压阀,氮气减压阀,水用减压阀,自力式减压阀,比例减压阀)、安全阀、保温阀、低温阀、球阀、截止阀、闸阀、止回阀、蝶阀、过滤器、放料阀、隔膜阀、旋塞阀、柱塞阀、平衡阀、调节阀、疏水阀、管夹阀、排污阀、排气阀、排泥阀、气动阀门、电动阀门、高压阀门、中压阀门、低压阀门、水力控制阀、真空阀门、衬胶阀门、衬氟阀门。主、再热蒸汽系统的工质流程?汽轮机高调门和中调门得布置位置? 主、再热蒸汽的主要参数? 启动前为什么要进行系统疏水? 系统主要疏水门有哪些? 防腐气门的位置和作用? 什么是旁路系统? 旁路系统的作用? 旁路系统的种类? 旁路系统的投入原则? 汽缸法兰螺栓夹层加热装置的作用? 汽缸法兰螺栓夹层加热装置工作流程?
 一、什么是主再热蒸汽系统? 来自锅炉过热器出口的蒸汽经过主蒸汽管道、主汽阀、调节汽阀和汽轮机的蒸汽室,至进入高压缸汽缸的设备和管道,称主蒸汽系统。做过功的蒸汽再进入再热器加热,后进入中低压缸的设备和管道的组合,称再热蒸汽系统。 包括:集中母管制系统、切换母管制系统、单元制系统 二、主、再热蒸汽系统的工质流程?汽轮机高调门和中调门得布置位置? 由过热器来的主蒸汽→通过电动主闸门→高压主汽门、高调门(联合汽门)→进入高压缸做功→流过再热冷段→进入再热器加热→流入再热热段→通过中压主汽门→中压调门→进入中低压缸做功 汽轮机高调门和中调门得布置位置? 高调门从右下开始逆时针右下1、左下2、左上3、右上4,高主1门控制2、3高调,高主2门控制1、4高调。中调门从左下开始逆时针左下1、左上2、右上3、右下4,中主1门控制1、2中调,中主2门控制3、4中调
三、主、再热蒸汽的主要参数? 本汽轮机是哈尔滨汽轮机厂生产的C100/N125—13.24/535/535/0.245型汽轮机,为超高压、一次中间再热、双缸、单排汽、单轴、单抽结构,额定蒸汽压力13.23MPa,额定主蒸汽温度535℃,额定再热压力2.032MPa,额定再热温度535℃,额定抽汽压力为0.245MPa。
四、启动前为什么要进行系统疏水? 汽轮机启动过程应是一个汽缸和蒸汽管道被加热的过程,进入汽缸的蒸汽温度高于汽缸金属温度。 暖管、暖机时,蒸汽对汽缸进行凝结放热,有大量的凝结水。直到汽缸和蒸汽管道壁温达到该压力下的饱和温度时,凝结放热过程结束,凝结水量才大大减少。另外,停机后还残留在汽缸和管道的蒸汽凝结水。由于汽水密度和流速不同,积存的凝结水会引起管道发生水击,使得管道振动乃至破裂。为了保证机组安全运行必须及时将积聚的凝结水疏泄。

五、防腐气门的位置和作用? 在机组4.5米平台,排气排到负3米。 防腐气门是装在电动主闸门后,自动主汽门前面的对外排空的阀门,启机前暖管疏放水,停机之后,开防腐汽门,可以防止管道存汽存水,流进汽轮机腐蚀设备。
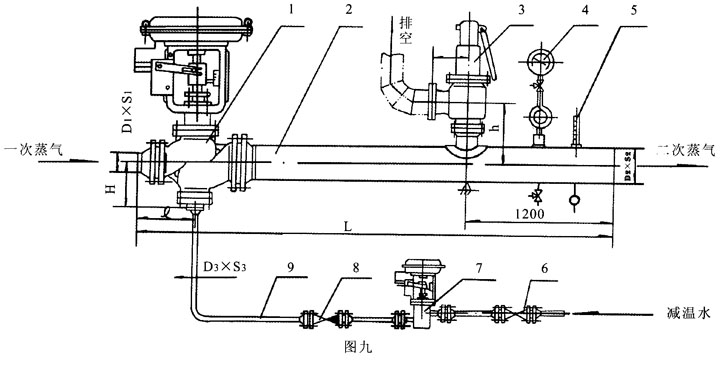
六、什么是旁路系统?
旁路系统是指高温高压蒸汽不进入汽轮机, 而是绕过汽轮机经过与汽轮机并联的减压减 温器,降压降温后的蒸汽送入再热器或凝汽器的连接系统。 七、旁路系统的作用?旁路系统的种类? 排汽(二级抽汽)。 机组启动法兰螺栓装置加热过程 新蒸汽→通过法兰联箱→法兰螺栓→法兰集箱→凝汽器 机组停机法兰螺栓装置冷却过程 机组高压缸排汽→通过法兰联箱→法兰螺栓→法兰集箱→凝汽器 级叶轮后(也即一级抽汽)→上、下夹层→通过加热联箱→高缸 1.锅炉在设定压力下操作时,避免低压运行产生湿蒸汽。
2.压力高的情况下,便于介质的输送。
3.管道中各种设备的压力都是不同的。
4.减压可以节省能源,因为减压潜热大、闪蒸少。
5.减压阀可以控制介质温度。
6.能稳定下游蒸汽系统压力,提高蒸汽品质获得干蒸汽。 
蒸汽减压阀的作用: 蒸汽减压阀在一定情况下,能保护其后的设备,和Y型过滤器一样都是为了保护后面的设备。但是减压阀是采用调节阀的阀体来控制流量的开度,同时借助阀后压力的作用调节启闭件的开度,使阀后压力保持在一定范围内,来维持整个蒸汽系统的压力平衡本文相关的论文有:中国阀门产值递增 |